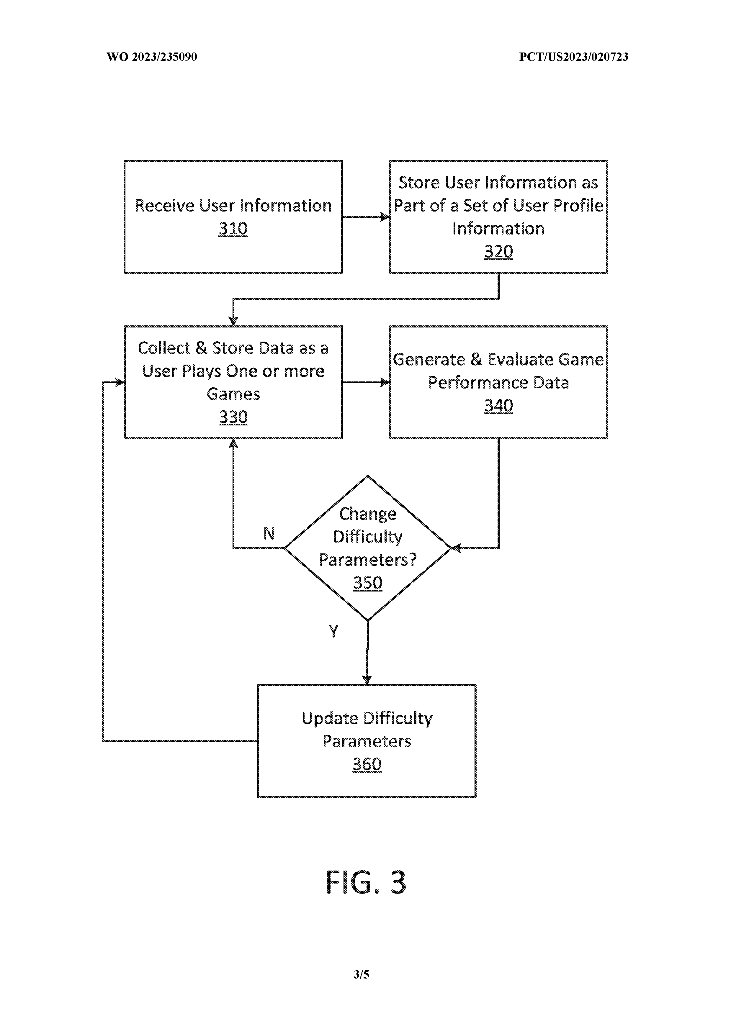
Sony has filed a patent which could see difficulty levels adapt and adjust as users play.
The patent features algorithms that would be able to finely tune difficulty configs based on an individual’s performance.
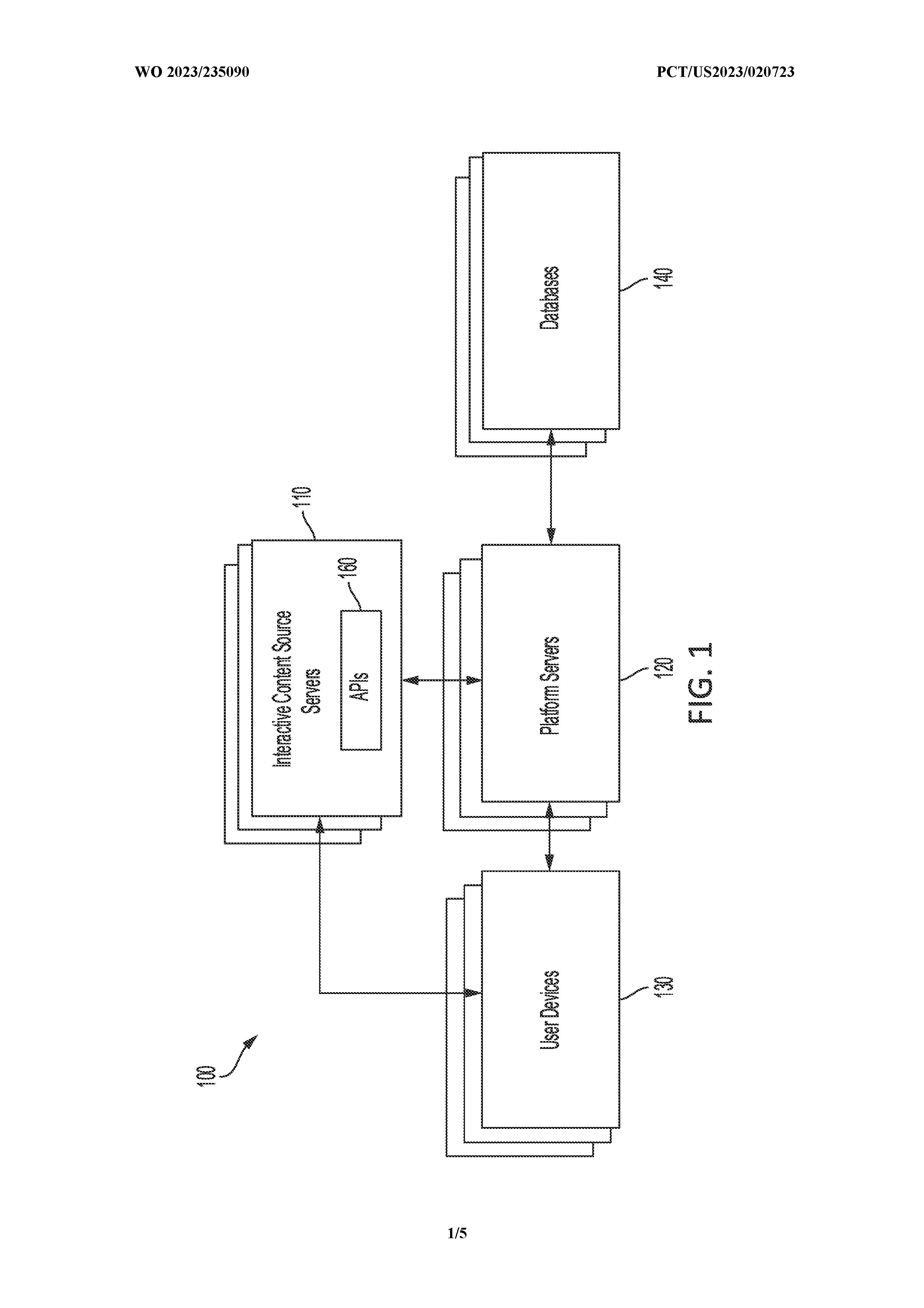
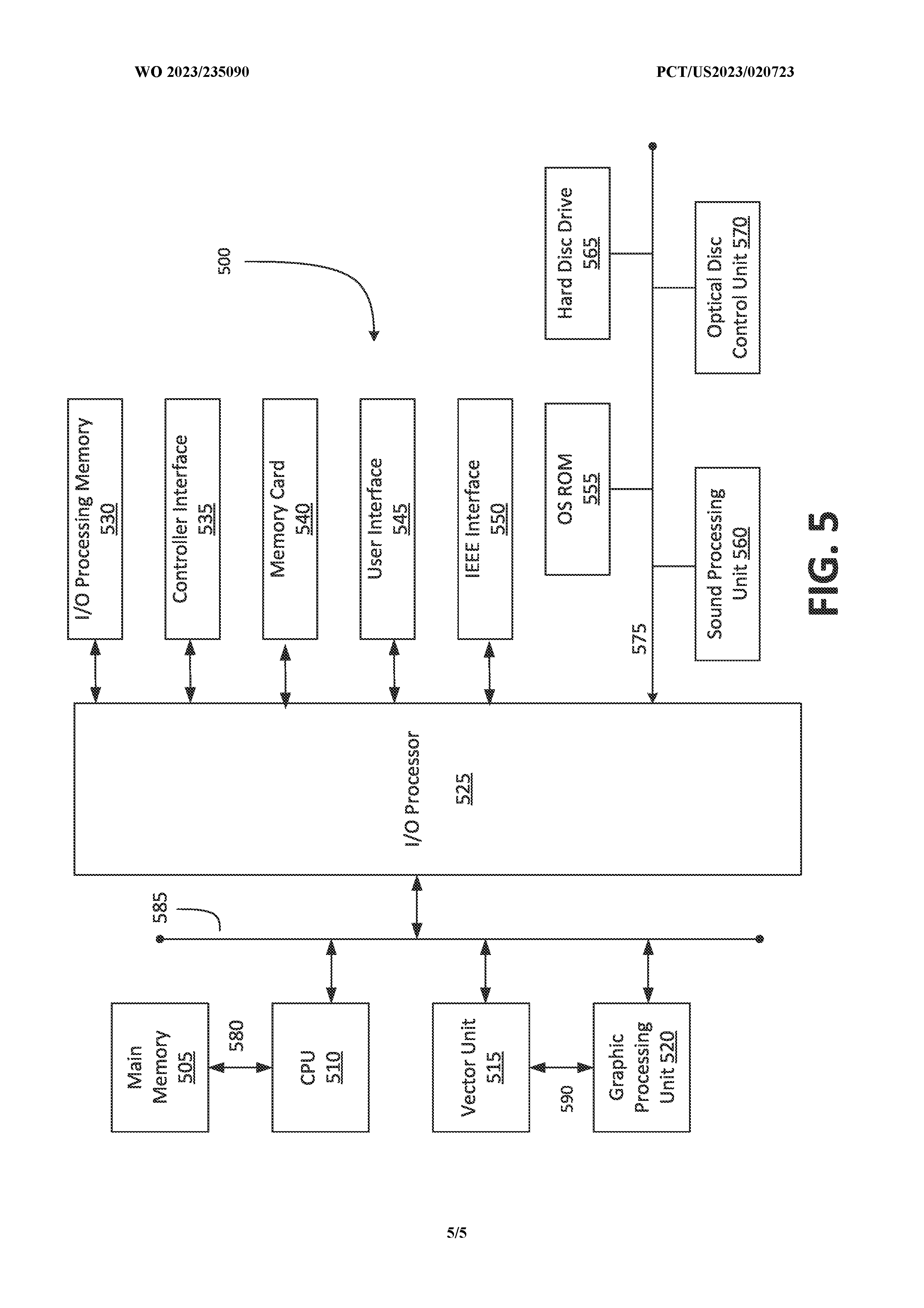
you could see diagrams from this Sony patent below.

What do you think to the idea?
Elsewhere in the world of patents, EA is seemingly looking into ways toimplement player-voiced characters into its games.





